Phasor diagram, Electrical Engineering

Assignment Help:

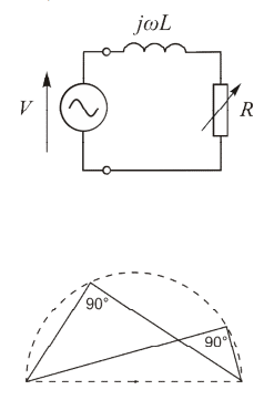
The aim of this question is to help you become familiar with phasor diagrams, and in particular to see how the diagram changes when one of the system parameters (in this case resistance) varies. The diagram (right) represents the approximate equivalent circuit of an induction motor (copper and mechanical losses are ignored, and the permeability of magnetic core is considered infinite), supplied from a constant- voltage source V of angular frequency ω. The power in the fictitious resistance R represents the power converted from electrical to mechanical form, and the value of R is a function of the speed of the motor. Sketch phasor diagrams showing the current and the voltages across R and L when a) R = 0; b) R = 0.1ωL; c) R = ωL; d) R = 10ωL. (Use the same scale for each diagram; calculate angles; and use a protractor or drawing package to produce a set of decent diagrams so that they can be compared easily.

1. You may find it useful to recall the geometrical property of a semi-circle shown in the sketch.

2. Find the value of R (in terms of ωL) that yields maximum power, and the corresponding power.

728_Phasor Diagrams.png


Related Discussions:- Phasor diagram

Automotive power-assisted steering system, In terms of negative feedback, t...

In terms of negative feedback, there exists an analogy between the operational amplifier and the power-steering mechanism of an automobile. The hydraulic pump is analogous to the p

How to reduce cost in embedded systems, Question: a) Give three ways h...

Question: a) Give three ways how to reduce cost in embedded systems. b) What is a microcontroller? How is it different to a microprocessor? c) Briefly comment on the "A

Give the properties and application of pvc, Give the properties and applica...

Give the properties and application of PVC. Polyvinylchloride (PVC):  It is replacing rubber to a great extent in veracious applications. There is PVC insulated (non-sheathed)

Illustratecommon base configuration, Q. IllustrateCommon base configuration...

Q. IllustrateCommon base configuration? Common base configuration: In this circuit the base is common to both input and the output.Such a configuration is also known as groun

Develop the equation of motion, Aloudspeaker is a common electrochemical tr...

Aloudspeaker is a common electrochemical transducer in which vibration is caused by changes in the input current to a coil which, in turn, is coupled to a magnetic structure that c

Cma complement accumulator instruction, CMA Complement Accumulator  Instru...

CMA Complement Accumulator  Instruction Complement the  contents of the accumulator  i e the   accumulator  al once are converted zeros  and all zeros  are converted to  ones.

Newtons law of gravitation, Particles of mass M and m separated in space by...

Particles of mass M and m separated in space by a distance R exert a mutually attractive gravitational force F on one another given by where G is the universal gravitationa

Differentiate between dual beam and dual trace oscilloscope, Q. How do you ...

Q. How do you differentiate between dual beam and dual trace oscilloscope? Sol. There are two separate vertical input channels A, B and these use separate attenuator and prea

Control bus -bus organisation, Control  Bus The control  bus comprises...

Control  Bus The control  bus comprises of various  single  lines that carry  various  control  signals for synchronizing  various devices  and performing different task. The m

Electromagnetic fields and waves, QUESTION: Electromagnetic Fields and Wave...

QUESTION: Electromagnetic Fields and Waves (a) Illustrate with help of diagrams the Cartesian, Cylindrical and Spherical coordinate systems. (b) Lay down the assumptions fo

Write Your Message!

Captcha
Free Assignment Quote

Assured A++ Grade

Get guaranteed satisfaction & time on delivery in every assignment order you paid with us! We ensure premium quality solution document along with free turntin report!

All rights reserved! Copyrights ©2019-2020 ExpertsMind IT Educational Pvt Ltd