Conductance and conductivity, Chemistry

Assignment Help:

Conductance and conductivity:

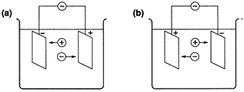
When a field (electric) is put across an aqueous ionic solution by applying a voltage between two parallel plate electrodes, the cations are attracted towards to the negative plate (cathode) and the anion towards the positive plate (anode). This movement of ion in a field is called migration and the movement of charge results in a current in the electric circuit connecting the electrodes. The field between the plates is initially linear and produces a constant ion velocity at all points. If there is no redox reaction, cations and anions will separate and collect at the cathode and anode respectively with time, balancing the electrode charge and there will be fewer ions in the bulk of solution. This is a process known as concentration polarization which also leads to the modification of the original linear potential profile between the two electrodes and a variation of ion velocity between the plates. The current will also fall with time. Concentration polarization is therefore useful when separating ions is define, such as in electrophoresis and electro osmosis, but that is to be avoided when measuring fundamental ion motion.

1205_molar conductance.png

Fig. 1. The effect of an AC voltage on the ion motion as electrode polarity is switched.

The ions then alternately migrate first to one plate and then the other during cycling, so that the ions oscillate around a fixed position, avoiding concentration polarization.


Related Discussions:- Conductance and conductivity

Bohr''s atomic model, what are the demerits of Bohr''s atomic model?

what are the demerits of Bohr''s atomic model?

Calculate the heat loss by polystyrene insulation foam, Heat Conductivity ...

Heat Conductivity When considering the design of houses, the heat conductivity by walls, roofs, and the floor plays an significant role. The heat conductivities (λ) of some bui

Sulphur in vapour state exhibits paramagnetic behaviour, Define the followi...

Define the following observations: (i) Most of the known noble gas compounds are those of xenon. (ii) CIF3 exists but FCI 3 does not. (iii) Between the hydrides of elemen

Chlorination, 90ml of an unknown concentrated chlorine was diluted with 225...

90ml of an unknown concentrated chlorine was diluted with 2250l of water.The dilution now is 0.08mg/l. what is the initial concentration of the chlorine before dilution?

Electrochemical cells, I have this chemistry assignment. It basically says,...

I have this chemistry assignment. It basically says, "study and make a report on any two types of electrochemical cells". What do I do? I have no idea so please, I need some help.

Vapour phase cracking - hydrocarbon, Vapour phase cracking - Hydrocarbon ...

Vapour phase cracking - Hydrocarbon In this method, gas oil or kerosene oil is vaporized in vapour phase. The temperature is reserved 600 - 800 o C and the pressure is approxim

The total number of orbitals having principle quantum no., For principle q...

For principle quantum numbern= 4 the total number of orbitals having l=3: (1) 3        (2) 7   (3) 5             (4) 9 Ans: 7

Homocyclic or carbocyclic - closed chain compounds, Homocyclic or Carbocycl...

Homocyclic or Carbocyclic - Closed Chain Compounds Homocyclic are the compounds that comprising a ring or rings of carbon atoms just only in the molecule. The homocyclic or c

Titration of hcl with standard sodium carbonate solution, how do you calcul...

how do you calculate the concentration of hcl solution if you are the mass of sodium carbonate and the volume of its solution and the volume of the pipetted solution and the volume

What are the thermodynamics properties?, In chemistry, an ideal solution or...

In chemistry, an ideal solution or ideal mixture is a solution with thermodynamic properties analogous to those of a mixture of ideal gases. The enthalpy of solution (or "enthalpy

Write Your Message!

Captcha
Free Assignment Quote

Assured A++ Grade

Get guaranteed satisfaction & time on delivery in every assignment order you paid with us! We ensure premium quality solution document along with free turntin report!

All rights reserved! Copyrights ©2019-2020 ExpertsMind IT Educational Pvt Ltd