Write the algorithm to find input and output value, Data Structure & Algorithms

Assignment Help:

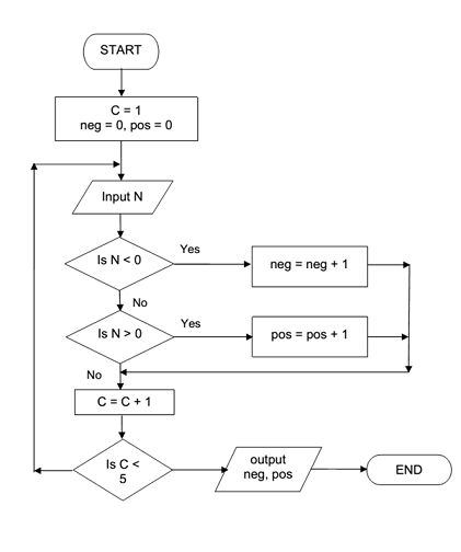
This algorithm inputs 5 values and outputs how many input numbers were positive and how many were negative.

Data to be used: N = 1, -5, 2, -8, -7

1828_flowchart.png

1060_trace table.png


Related Discussions:- Write the algorithm to find input and output value

Consistent heuristic function - graph search, Consistent Heuristic Function...

Consistent Heuristic Function - Graph Search Recall the notions of consistency and admissibility for an A* search heuristic. a. Consider a graph with four nodes S, A, B, C,

State the symbols of abstract data type operation, Symbols of ADT oepration...

Symbols of ADT oeprations All Symbol ADT operations are implemented in Symbol class, except toSymbol(), which is implemented in classes (like String) which can generate a Symb

Green computing, In the present scenario of global warming, the computer ha...

In the present scenario of global warming, the computer hard ware and software are also contributing for the increase in the temperature in the environment and contributing for the

Efficiency of linear search, Efficiency of Linear Search How much numbe...

Efficiency of Linear Search How much number of comparisons is there in this search in searching for a particular element? The number of comparisons based upon where the reco

Define spanning tree, Define Spanning Tree A Spanning Tree of a connect...

Define Spanning Tree A Spanning Tree of a connected graph is its linked acyclic sub graph (i.e., a tree) that having all the vertices of the graph.

Structured programming, What do you understand by term structured programmi...

What do you understand by term structured programming? Explain the structured programming as well.                                 Ans. S tructured Programming is expla

What is algorithm, What is Algorithm A finite sequence of steps for a...

What is Algorithm A finite sequence of steps for accomplishing some computational task. An algorithm should Have steps which are simple and definite enough to be done

Degree of node, Q. The degree of a node is defined as the number of childre...

Q. The degree of a node is defined as the number of children it has. Shear show that in any binary tree, the total number of leaves is one more than the number of nodes of degree 2

Develop a material requirements plan, The below figure illustrates the BOM ...

The below figure illustrates the BOM (Bill of Materials) for product A. The MPS (Material requirements Planning) start row in the master production schedule for product A calls for

Explain threaded binary tree, Threaded Binary Tree : If a node in a bin...

Threaded Binary Tree : If a node in a binary tree is not having left or right child or it is a leaf node then that absence of child node is shown by the null pointers. The spac

Write Your Message!

Captcha
Free Assignment Quote

Assured A++ Grade

Get guaranteed satisfaction & time on delivery in every assignment order you paid with us! We ensure premium quality solution document along with free turntin report!

All rights reserved! Copyrights ©2019-2020 ExpertsMind IT Educational Pvt Ltd