Why do we need registers, Computer Engineering

Assignment Help:

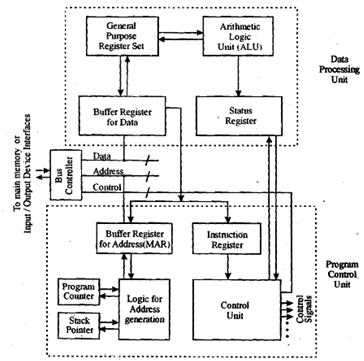
Why do we need Registers?

If tcpu is cycle time of CPU which is the time taken by CPU to execute a well-defined micro-operation employing registers and tmem is memory cycle time which is the speed at which memory can be accessed by CPU then (tcpu/tmem) is in the range of 2 to 10 i.e. CPU is 2 - 10 times faster than memory. So CPU registersare the fastest temporary storage areas. So the instructions whose operands are stored in fast CPU registers can be executed fast in comparison to instructions whose operands are in main memory of a computer. Every instruction should designate the registers it will address. So a machine needs a large number of registers.

1440_Why do we need Registers.png

Figure: CPU with general register organisation


Related Discussions:- Why do we need registers

First-order logic - artificial intelligence, First-Order Logic : There'...

First-Order Logic : There's Reasoning, and then There's Reasoning As humans, we have always prided ourselves on our capability to think things by: to reason things out and c

Hypertext markup language, Web pages or materials which are in the form of ...

Web pages or materials which are in the form of hypermedia documents accessed through Internet can be located anywhere in world. No matter from where they originated, most Web d

Classification according to pipeline configuration, Classification accordin...

Classification according to pipeline configuration: According to the configuration of a pipeline, the following parts are recognized under this classification: Unifunct

Elucidate in brief the functions of the clock generator chip, Elucidate in ...

Elucidate in brief the functions of the clock generator chip, 8284. 8284 Clock generator: 8284 is an ancillary component to the microprocessors. Without clock generator, many

Artificial intelligence, Artificial intelligence ( AL) is a field of scien...

Artificial intelligence ( AL) is a field of science and technology based on disciplines such as computer science biology psychology linguistics mathematics and engineering. The g

Define memory read and write operation, Define Memory read and write operat...

Define Memory read and write operation The transfer of information from a memory word to outside environment is known as read operation. The transfer of new information to be k

Dpsd -asynchronous circuits, an asyncronous sequential circuit is described...

an asyncronous sequential circuit is described by the the exitatio function and the output function y=x1x2''+(x1=x2'')y output function z=y a)draw the logic diagram of the circuit.

Discuss the advantages of firewalls, Discuss the advantages of Firewalls ...

Discuss the advantages of Firewalls Firewalls also offer additional protection to local users who like to browse or surf out from the Intranet to the Internet, by acting as pro

Skip to line line number, The "SKIP TO LINE line number" is dependent on wh...

The "SKIP TO LINE line number" is dependent on which statement included in the report statement of the program. The "SKIP TO LINE line number" is dependent on "LINE-COUNT" stat

Algebraic method for simplification of boolean expressions, Define Algebrai...

Define Algebraic method for Simplification of the Boolean Expressions This method is depend on the by knowledge of the Boolean algebra. Expression can be making simpler by usin

Write Your Message!

Captcha
Free Assignment Quote

Assured A++ Grade

Get guaranteed satisfaction & time on delivery in every assignment order you paid with us! We ensure premium quality solution document along with free turntin report!

All rights reserved! Copyrights ©2019-2020 ExpertsMind IT Educational Pvt Ltd