Simulate the circuit using digital simulation techniques, Electrical Engineering

Assignment Help:

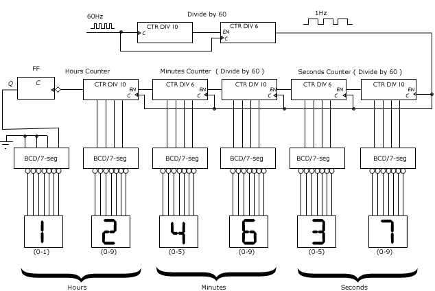
You are the new chief PCB designer for a small company who are about to become heavily involved in the design and realisation of digital timing products. Your management wants to prove the path from design entry to final design data production. Consequently, your first task within the company is to take a design from concept through to completion. Given the nature of the company business, it has been decided the test design will be a digital clock, the block diagram of which is illustrated below. An additional requirement is miniaturisation and the board size should be as small as is practically possible.

2307_Simulate the circuit using digital simulation techniques.png

Each of the elements can be realised from 7400-series TTL in SMD packages. The circuit below shows the internal components and connections for the divide-by-60 block above. The counters are 74160 and the 7-segment BCD is a 7447. Any additional information is readily available in data books and the internet.

  1. Package the components in SMD packages where available.
  2. Simulate the circuit using digital simulation techniques to prove the operation.
  3. Layout the components and the route the board
  4. Generate ALL the files necessary to enable production of the board.

 


Related Discussions:- Simulate the circuit using digital simulation techniques

Organisational trends - power distribution management, Organisational Trend...

Organisational Trends: 1 Organisations are economic and social entities in which a number of persons perform multifarious tasks in order to attain common goals. Four key organ

Project, Hello I am doing a Btec degree in Electrical and electronic engine...

Hello I am doing a Btec degree in Electrical and electronic engineering and I was wondering if you can help me complete it because I am behind

Edge detector, Edge detector  Apply the Canny edge detector to image c...

Edge detector  Apply the Canny edge detector to image class.png. To compute Canny edges:      help edge     edge(im,'canny',[thres1 thres2],sigma) (i) Compute edges for

Differentiate between n and p type semiconductors, Differentiate between n ...

Differentiate between n and p type semiconductors. n - Type semiconductor:- (i) If small amount of pentavalent impurity is added with, to a pure semiconductor giving a la

What are the different functional units in 8086, Bus Interface Unit and imp...

Bus Interface Unit and implementation unit, are the two dissimilar functional units in 8086.

Disadvantages - high level languages, Disadvantage - High  level  Langua...

Disadvantage - High  level  Languages a.Computational time is more as compared to  machine languages. b.Requires more  memory. c.Requires the knowledge of specific rules

Determine the frequency of the rotor voltages, A three-phase, wound-rotor i...

A three-phase, wound-rotor induction machine, with its shaft rigidly coupled to the shaft of a three-phase synchronousmotor, is used to change balanced 60-Hz voltages to other freq

Find the initial current, In the circuit shown below, the capacitor initial...

In the circuit shown below, the capacitor initially has a voltage across it 4 Volts (at t = 0). a.  Write down the expression for V C (t) when the switch is closed. b.  Writ

Electrical/electronic engineering project, i need a project creating in ele...

i need a project creating in electronic/electrical engineering at HNC level, 3000 words Harvard referencing. it can be about anything in this field or i can give a suggestion

Introduction to problem based learning, The Problem Based Learning is an ap...

The Problem Based Learning is an approach to learning prepares the students to engage with challenges similar to real world problems.The VEB3001-Problem Based Learning has been an

Write Your Message!

Captcha
Free Assignment Quote

Assured A++ Grade

Get guaranteed satisfaction & time on delivery in every assignment order you paid with us! We ensure premium quality solution document along with free turntin report!

All rights reserved! Copyrights ©2019-2020 ExpertsMind IT Educational Pvt Ltd