Already have an account? Get multiple benefits of using own account!
Login in your account..!
Remember me
Don't have an account? Create your account in less than a minutes,
Forgot password? how can I recover my password now!
Enter right registered email to receive password!
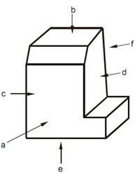
Designation of Views:
As per the Bureau of Indian Standards or like BIS-SP: 46-1988 that specifies common principles of presentation of technical drawings following the orthographic projection methods, and the designation of views is as follows in displayed diagram.
View in direction a =
View from the front named Front View or Elevation.
View in direction b =
View from above named Top View or Plan
View in the direction c =
View from the left side named Left Side View.
View in the direction d =
View from the right side named Right Side View
View in the direction e =
View from below named Bottom View
View in the direction f =
View from the rear or back named Back View.
Get guaranteed satisfaction & time on delivery in every assignment order you paid with us! We ensure premium quality solution document along with free turntin report!
whatsapp: +91-977-207-8620
Phone: +91-977-207-8620
Email: [email protected]
All rights reserved! Copyrights ©2019-2020 ExpertsMind IT Educational Pvt Ltd