Already have an account? Get multiple benefits of using own account!
Login in your account..!
Remember me
Don't have an account? Create your account in less than a minutes,
Forgot password? how can I recover my password now!
Enter right registered email to receive password!
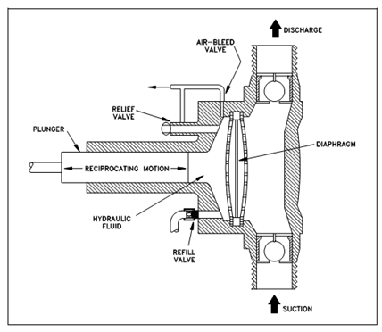
Diaphragm Pumps:
Diaphragm pumps are also categorized as positive displacement pumps since the diaphragm acts as a limited displacement piston. A pump will function while a diaphragm is forced within reciprocating motion through mechanical linkage, compressed air or fluid from a pulsating, external source. A pump construction eliminates some contact among the liquid being pumped and the source of energy. That eliminates the possibility of leakage that is important while handling toxic or extremely expensive liquids. Drawback involves limited head and capacity range, and the requirement of check valves in the suction and discharge nozzles. An instance of a diaphragm pump is displays in Figure.
Figure: Diaphragm Pump
Get guaranteed satisfaction & time on delivery in every assignment order you paid with us! We ensure premium quality solution document along with free turntin report!
whatsapp: +91-977-207-8620
Phone: +91-977-207-8620
Email: [email protected]
All rights reserved! Copyrights ©2019-2020 ExpertsMind IT Educational Pvt Ltd