Already have an account? Get multiple benefits of using own account!
Login in your account..!
Remember me
Don't have an account? Create your account in less than a minutes,
Forgot password? how can I recover my password now!
Enter right registered email to receive password!
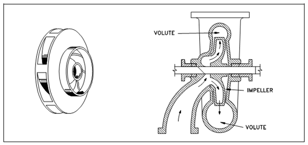
Radial Flow Pumps:
Within a radial flow pump, the liquid enters at the middle of the impeller and is directed out along the impeller blades within a direction at right angles to the pump shaft. The impeller of a classical radial flow pump and the flow by a radial flow pump are displays in Figure.
Figure: Radial Flow Centrifugal Pump
Get guaranteed satisfaction & time on delivery in every assignment order you paid with us! We ensure premium quality solution document along with free turntin report!
whatsapp: +91-977-207-8620
Phone: +91-977-207-8620
Email: [email protected]
All rights reserved! Copyrights ©2019-2020 ExpertsMind IT Educational Pvt Ltd