Find the stresses by finite method, Mechanical Engineering

Assignment Help:

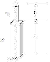
The stepped bar in Fig Q6 is stretched along the vertical axis and the maximum upward displacement is found to be 0.008 m. The bar has cross-sectional areas of A1 and A2 over the lengths L1 and L2, respectively. Using the data below, find the stresses induced in the axially loaded stepped bar by the finite element method through hand calculations.

 A1=0.0002 m2, A2=0.0008 m2; L1= 1 m L2= 2 m; E1=ABCDE MPa, E2=20000MPa

462_cross-sectional areas.png


Related Discussions:- Find the stresses by finite method

Types of brake , Types of Brake The brakes used in motorcycles can be ...

Types of Brake The brakes used in motorcycles can be classified as follows: (a) Drum Brake (b) Disc Brake

Foreign inclusions-slag inclusions-oxide films in fusion wel, Foreign Inclu...

Foreign Inclusions   Slag inclusions This is formed due to entrapment of oxides and non metallic solid material in the weld deposit or between the weld metal and base met

Evaluate the shaft diameter, The shaft, as given in Figure is driven by pul...

The shaft, as given in Figure is driven by pulley B from an electric motor. Another belt drive from pulley A is operating a compressor. The belt tensions for pulley A are 1500 N an

Design the pavement, As spring approaches, your design rm has been tasked ...

As spring approaches, your design rm has been tasked with designing a two-lane highway in rural Wyoming. The highway descends a hill, crosses a river, and must shift to a parallel

Explain the importance of jigs and fixtures, Explain the Importance of jigs...

Explain the Importance of jigs and fixtures: Enhance productivity. Rapid production work. Reduces manufacturing costs. Complex and heavy components can be

Evaluate maximum stress, Show that for a flat circular steel plate subjecte...

Show that for a flat circular steel plate subjected to uniform pressure on one surface, the maximum stress when the periphery is freely supported is 1.65 times that when the periph

What are the constructional aspects of well foundations, What are the Const...

What are the Constructional Aspects of Well Foundations  There are several aspects which require careful consideration during sinking of well foundations. They are i)  Prepa

Factor of safety - working stress, Factor of Safety: Factor of saf...

Factor of Safety: Factor of safety is number used to determine working stress. It is fixed based on experimental works on material. It accounts all uncertainties like, mate

What do you mean by bunds and dikes, Q. What do you mean by Bunds and Dikes...

Q. What do you mean by Bunds and Dikes ? A bund (or dike) is an embankment or wall of brick, stone, concrete or other impervious material, which surrounds the entire perimeter

CNC Machining, how to determine proper the depth of cut for the tool if the...

how to determine proper the depth of cut for the tool if the drill is made of HSS and the work piece is made of alluminume alloy?

Write Your Message!

Captcha
Free Assignment Quote

Assured A++ Grade

Get guaranteed satisfaction & time on delivery in every assignment order you paid with us! We ensure premium quality solution document along with free turntin report!

All rights reserved! Copyrights ©2019-2020 ExpertsMind IT Educational Pvt Ltd